Miller-Experimente zur Chemie der Lebensentstehung
50 Jahre danach
von Harald Binder
Studium Integrale Journal
10. Jahrgang / Heft 2 - Oktober 2003
Seite 65 - 73
Zusammenfassung: Vor 50 Jahren erschienen zwei wissenschaftliche Publikationen, die auch in der Tagespresse für Schlagzeilen sorgten und inzwischen grundlegender Bestandteil naturwissenschaftlicher Lehrbücher sind. 1953 veröffentlichten WATSON & CRICK das Modell der DNA-Doppelhelix und MILLER erste Experimente im Zusammenhang mit der Frage der Lebensentstehung. Was waren die Hintergründe zu den Simulationsexperimenten von MILLER, was haben sie ausgelöst und welche Erkenntnisse sind durch diese Forschungen bis heute etabliert worden?
Ein Vergleich der beiden Arbeiten von WATSON & CRICK und MILLER macht interessante Unterschiede deutlich und zeigt, daß das Phänomen Leben ein heißes, aber auch heikles Thema für die naturwissenschaftliche Forschung ist.
Einleitung

Abb. 1: Das Modell der DNA Doppelhelix wie es in der Originalveröffentlichung (Watson & Crick 1953) abgebildet ist. Diese Darstellung stammt von Odile Crick, der Frau von Francis. Die zugehörige Legende beginnt mit dem Satz „Diese Abbildung stellt nur ein Diagramm dar.“ Modelle dieser Struktur können stark voneinander abweichen, je nachdem, welche Aspekte hervor- gehoben werden sollen.
In der ersten Hälfte des Jahres 1953 gab es neben der Krönung der englischen Königin Elisabeth II. und der ersten erfolgreichen Besteigung des höchsten Gipfels der Erde, des Mount Everest, noch weitere aufsehenerregende Ereignisse, deren Auswirkungen bis in die Gegenwart zu beobachten sind und deren 50-jährigen Jubiläen entsprechend gedacht wird.
Im Abstand von weniger als einem Monat erschienen am 25. April und am 15. Mai jenes Jahres in zwei renommierten wissenschaftlichen Zeitschriften – in der britischen Nature und der amerikanischen Science – zwei Beiträge, die weit über den Bereich der Naturwissenschaften hinaus die Aufmerksamkeit auf sich gezogen haben. Im ersten Beitrag veröffentlichten James D. WATSON und Francis CRICK ihren Vorschlag für die molekulare Struktur der Nukleinsäure (WATSON & CRICK 1953). Sie hatten aufgrund vorliegender experimenteller Daten das Modell der Doppelhelix entworfen und gebaut, das neben seinem Erklärungspotential auch durch seine Ästhetik bestach (Abb. 1). Der Autor der zweiten Veröffentlichung war ein amerikanischer Chemiestudent namens Stanley L. MILLER. Er präsentierte erste Ergebnisse aus Untersuchungen zur Herstellung von Aminosäuren unter Bedingungen, wie sie auf einer frühen Erde geherrscht haben könnten („possible primitive earth conditions“) (MILLER 1953).
Beide Veröffentlichungen setzen sich in einer grundlegenden Weise mit dem Phänomen Leben auseinander und sind heute Bestandteil von Lehrinhalten im Bereich der Biowissenschaften. Beide versuchen Fragen zu beantworten, die bei der Betrachtung des Lebens von grundlegender Bedeutung sind und damit unser Verständnis der Lebewesen einschließlich uns selbst nachhaltig beeinflussen.
Der Beitrag von WATSON und CRICK beschäftigt sich mit der Frage: Wie funktioniert Leben? In einem Interview beantwortete WATSON unlängst die Frage nach der Bedeutung ihrer Entdeckung folgendermaßen: „...Wir erklärten das Leben in der Sprache der Chemie. Genau das wollten wir. ...“ (DIE ZEIT, 28. 5. 2003).
MILLER sucht nach möglichen Antworten auf die Frage: Wie könnte Leben entstanden sein? Dazu prüft er die Plausibilität verschiedener Vorstellungen, indem er sie in Laborexperimenten simuliert und so die Verträglichkeit der Konzepte mit chemischen Erkenntnissen untersucht.
In diesem Beitrag soll vor allem die Arbeit von MILLER und deren Wirkungsgeschichte untersucht werden. Die geschichtliche Situation, das Experiment, die Ergebnisse und deren Interpretation werden ebenso beleuchtet wie auch die weiteren Arbeiten von MILLER und seinen Mitarbeitern. MILLERs Publikation war ein entscheidender Schritt auf dem Weg der Etablierung der Frage nach der Lebensentstehung als Gegenstand naturwissenschaftlicher Forschung. Welche Antworten liegen bis heute vor? Abschließend sollen die beiden eingangs erwähnten Arbeiten von WATSON und CRICK über die DNA-Struktur und diejenige von MILLER über die Chemie der Lebensentstehung hinsichtlich ihrer Rezeption und Wirkungsgeschichte miteinander verglichen werden.
Naturwissenschaft und Lebensentstehung vor Millers Simulationsexperiment
Der russische Biochemiker Alexander I. OPARIN veröffentlichte 1924 einen Beitrag über den Ursprung des Lebens, der zunächst aufgrund der russischen Publikationssprache keine weite Verbreitung fand. Erst 1968 erschien er in englischer Übersetzung als Anhang in einer Monographie (BERNAL 1967). Bereits 1938 veröffentlicht OPARIN eine englischsprachige Monographie: The Origin of Life (auf russisch bereits 1936), die mehrfach überarbeitet und neu aufgelegt worden ist. OPARIN spekuliert in seinen Publikationen darüber, daß die heute bekannten Lebewesen stufenweise aus immer weniger komplex aufgebauten Organismen hervorgegangen sind und daß den einfachsten lebenden Systemen eine lange Phase einer präbiotischen chemischen Evolution vorausgeht. In seinen Überlegungen faßt er das Zellplasma als leimartige Lösung von Stoffen (Kolloid) auf und leitet von deren physikalisch-chemischen Eigenschaften Ideen zur Entstehung erster Stoffwechselsysteme ab. Unabhängig von OPARIN und nach eigenen Aussagen ohne Kenntnis von dessen Publikation veröffentlichte John B. S. HALDANE (1929) einen Essay The Origin of Life. In seinen Überlegungen zur Lebensentstehung spielen Bakteriophagen (Bakterien zerstörende Viren) eine wichtige Rolle. OPARIN und HALDANE haben mit ihren Publikationen wichtige Impulse auf dem Weg zu naturwissenschaftlichen, experimentell prüfbaren Modellen zur Lebensentstehung gegeben.
Bereits vor MILLER wurden Experimente zur Synthese von biologisch bedeutsamen Stoffen durchgeführt und veröffentlicht, ohne daß diese allerdings auch nur annähernd eine vergleichbare öffentliche Wirkung erzielt hätten. So berichteten LÖB (1913) und GROTH & SUESS (1938) über die Herstellung organischer Substanzen aus CO2-haltigen Gasmischungen unter Einwirkung unterschiedlicher Energiequellen. Nur die beiden letzten Autoren diskutieren ihre Ergebnisse im Zusammenhang mit der Entwicklung des Lebens. Auch der Nobelpreisträger M. CALVIN (Chemie 1961) führte ähnliche Experimente unter Einsatz von ionisierender Strahlung durch (GARRISON et al. 1951). Die dabei in geringen Mengen entstandenen organischen Verbindungen (Formaldehyd, Ameisen- und Bernsteinsäure) reichen in ihrer biologischen Bedeutung aber nicht an diejenige von Aminosäuren heran.
Die Geschichte um das Miller-Experiment - ein Blick zurück
Im Herbst 1951 hielt der Chemie-Nobelpreisträger (1934) Harold C. UREY an der Universität Chicago einen Vortrag über seine Ideen zu den chemischen Vorgängen auf der frühen Erde und bei der Entstehung des Lebens.1 Aufgrund seiner Reflexionen über die Entstehung des Sonnensystems und der chemischen Prozesse im Zusammenhang mit der Planetenbildung spekulierte UREY unter Rückgriff auf geo- und kosmochemische Erkenntnisse über eine reduzierende Atmosphäre auf der frühen Erde.
Diese setzte sich nach seinen Vorstellungen im Gegensatz zur gegenwärtigen, von Stickstoff (N2) und Sauerstoff (O2) dominierten Atmosphäre aus den Gasen Wasserstoff (H2), Ammoniak (NH3) und Methan (CH4) zusammen.
Urey befürchtete wohl, daß bei Millers Versuchen ein unbrauchbar komplexes Substanzgemisch entstehen würde. Letztlich hatte er damit recht.
UREY wies in seinem Vortrag auch darauf hin, daß bisher nur wenig experimentelle Versuche zur Nachahmung und Prüfung solcher Vorstellungen unternommen und beschrieben worden seien. Reduzierende Ausgangsbedingungen zur Synthese von organischen Substanzen waren noch gar nicht unter dem Aspekt der Lebensentstehung im Labor untersucht worden.
Im Auditorium war auch der Chemiestudent Stanley MILLER, der an dem Thema zwar interessiert war, sich jedoch zunächst für ein theoretisches Projekt mit dem Physiker Edward TELLER (Wasserstoffbombe) entschied. Erst nachdem dieses erfolglos abgebrochen wurde, nahm MILLER im September 1952 mit UREY Kontakt auf und erörterte mit ihm ein Projekt über experimentelle Untersuchungen zur präbiotischen Synthese organischer Substanzen unter Verwendung reduzierender Gasmischungen. UREY war zunächst eher skeptisch, da er der Meinung war, daß ein solches Projekt (entsprechend einer Diplomarbeit) besser abschätzbare Erfolgsaussichten haben sollte. Obwohl er MILLER ein anderes Thema vorschlug, beharrte dieser auf der ursprünglichen Idee.

Abb. 2: Millers Originalskizze der ersten Versuchsanordnung für die Simulation der Synthese organischer Verbindungen auf einer hypothetischen frühen Erde. Im Gegensatz zu späteren Ausführungen sind die Elektroden hier zwischen der großen Glaskugel – welche die Erdatmosphäre repräsentieren soll – und dem Kühler angeordnet. (Aus Miller 1953)
Zuerst entwarf MILLER verschiedene Reaktionssysteme, die schließlich in drei Glasapparaturen realisiert wurden. Vor Beginn seiner Experimente evakuierte MILLER zunächst die Apparaturen und füllte sie dann mit Wasser und den Gasen CH4, NH3 und H2. Durch Funkenentladung an den Elektroden – durch angelegte Hochspannung verursacht – und Erhitzen des Wassers wurde die Synthese gestartet. Durch den Wasserdampf wurde das Gasgemisch in Bewegung versetzt und strömte auch durch den Bereich der Elektroden. Nachdem MILLER das entstandene Produktgemisch nach einer Reaktionszeit von zwei Tagen aus der gelblichen wässrigen Lösung isoliert und durch Papierchromatographie getrennt hatte, konnte er durch Besprühen mit einem Nachweisreagenz die Aminosäure Glycin nachweisen. BADA & LAZCANO (2000) erwähnen, daß UREY während dieser ersten Experimente zu Vorträgen unterwegs war. Im Rahmen eines solchen Vortrags erwähnte er, daß einer seiner Studenten mit Untersuchungen zur Synthese von organischen Substanzen aus reduzierenden Gasmischungen beschäftigt sei. Von einem Zuhörer wurde er daraufhin nach seiner Erwartung befragt. UREY gab die Antwort in einem Wort: „Beilstein“. Damit bezog er sich auf „Beilsteins Handbuch der Organischen Chemie“, in dem alle synthetisierten Kohlenstoffverbindungen beschrieben sind. BADA und LAZCANO (2000) interpretieren diese Aussage als Ausdruck von Optimismus, der an die Stelle der zuerst geäußerten Skepsis getreten sei. Plausibler erscheint allerdings, daß UREY damit die Befürchtung eines unbrauchbar komplexen Substanzgemisches andeutet.
Nach seiner Rückkehr wurde UREY über die erzielten Resultate informiert und war davon so beeindruckt, daß er MILLER die Publikation in einem bedeutenden Journal – in Science – empfahl. UREY setzte sich persönlich beim Herausgeber für eine rasche Veröffentlichung ein.
MILLER erwähnt später in einem Beitrag zur Erinnerung an Harold UREY (MILLER 1981), daß er ihm den Entwurf des Manuskripts vorgelegt habe. UREY habe sich überraschend wohlwollend darüber geäußert und gleichzeitig die übliche Coautorenschaft mit der Begründung abgelehnt, daß MILLER durch einen etablierten Coautor die ihm zustehende Beachtung versagt bleiben würde. So erschien der Beitrag schließlich unter der alleinigen Autorenschaft von Stanley MILLER.
Bis es soweit kam, waren allerdings noch einige Hürden zu überwinden. So verzögerte sich der zugesagte Erscheinungstermin aufgrund eines ausgebliebenen Gutachtens. Dem Rezensent erschienen die Ergebnisse sehr unglaubwürdig. Nachdem UREY angedroht hatte, das Manuskript zurückzuziehen und in einem anderen Journal zu veröffentlichen, erschien die Arbeit schließlich in der Ausgabe von Science am 15. Mai 1953. Die zweite, umfangreichere und ausführlichere Arbeit erschien dann im Mai 1955 im Journal der Amerikanischen Chemischen Gesellschaft (MILLER 1955) als Zusammenfassung von MILLERs an der Universität Chicago eingereichten Dissertation.
Experimente, Resultate, Interpretation

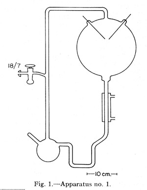
Abb. 3: Millers Apparatur zur Simulation präbiotischer Synthese von Aminosäuren. Diese Skizze wurde Grundlage für viele Darstellungen in populären Medien und Schulbüchern. Die Elektroden sind hier im Gegensatz zur früheren Ausführung (s. Abb. 2) direkt in den großen Glaskolben eingeschmolzen. (Aus Miller 1955)
Die ersten Arbeiten.
Die den Konstruktionen der Versuchsapparaturen von MILLER zugrundeliegende Idee war es, Situationen auf einer hypothetischen frühen Erde nachzubilden. Den Gedanken, daß Bestandteile der Gasphase der Erdatmosphäre für die Synthese erster organischer Substanzen von Bedeutung sein könnten, übernahm er von OPARIN, UREY und BERNAL (MILLER 1953; Literaturzitate 1-3). MILLER wollte vorliegende und bereits veröffentlichte Spekulationen zur Chemie der Lebensentstehung im Labor nachstellen und im Experiment testen. Innovativ war er vor allem im Entwurf der verschiedenen Versuchsanordnungen. Die Variationen bestehen in unterschiedlichen Energiequellen, deren variabler Anordnung und verschieden intensiver Strömungsgeschwindigkeiten des Wasserdampfs und der Gase in der Apparatur (MILLER 1955). Nach den ersten Versuchen (MILLER 1953, Fig. 1; hier: Abb. 2) veränderte MILLER die Anordnung der Elektroden in der Apparatur (MILLER 1955, Fig. 1; hier: Abb. 3). Mit der inzwischen sehr bekannten und in vielen Schulbüchern abgebildeten Apparatur sollte das System Ozean-Atmosphäre der frühen Erde nachgestellt werden. Durch Anlegen von Hochspannung an Wolframelektroden, welche in die Apparatur eingeschmolzen waren, sollten Funkenentladungen Blitze und andere energiereiche Strahlungsquellen simulieren. Über einen Kühler wird der Wasserdampf mitsamt den aus den Gasen unter Energieeinwirkung synthetisierten organischen Substanzen in den mit Wasser gefüllten Glaskolben (Ozean) zurückgeführt. Das eingebaute U-Rohrstück legt die Zirkulationsrichtung fest.
MILLER startete das Experiment, nachdem er die Apparatur gründlich evakuiert hatte (Entfernung von Luftsauerstoff und sonstigen in der Luft enthaltenen Spuren) durch Befüllen derselben mit der Gasmischung und Anlegen der Hochspannung an die Wolframelektroden. Das Wasser im kleinen Glaskolben wurde mit einer Heizquelle zum Sieden gebracht. Bereits nach zwei Tagen hatte sich das Wasser gelblich gefärbt, und die Elektroden und die unmittelbar umgebende Glasfläche waren mit teerartiger Substanz überzogen.
In seiner ersten Veröffentlichung (MILLER 1953) beschreibt MILLER seine Beobachtungen folgendermaßen: „Während des Reaktionsverlaufs wurde das Wasser im Kolben nach dem ersten Tag merklich rosa gefärbt und gegen Ende der Woche war die Lösung tief rot und trüb“ (Färbung aufgrund von Metallionen und Trübung wegen Silikat aus der Glasapparatur; Übersetzung aus dem englischen Original vom Autor). BADA & LAZCANO (2000) beschreiben, daß MILLER einen ersten Versuch nach zwei Tagen abgebrochen und die entstandenen Produkte isoliert und analysiert hat. Erst ein zweiter Versuch mit einer Laufzeit von einer Woche liegt der ersten Veröffentlichung zugrunde. Bei der Aufarbeitung der Probe stellte MILLER durch Zugabe von Quecksilberchlorid (HgCl2) sicher, daß darin keine Mikroorganismen wachsen, die eine Synthese von Aminosäuren vortäuschen würden. Nachdem durch entsprechende Einstellungen des pH-Wertes flüchtige Amine und Säuren unter reduziertem Druck entfernt waren, wurde die Lösung im Vakuum konzentriert.
Die verschiedenen Bestandteile dieser Lösung wurden durch Anwendung von Papierchromatographie separiert und durch Besprühen des entwickelten Papierchromatogramms mit Ninhydrin (Nachweisreagenz für Aminosäuren) analysiert. MILLER konnte zunächst die Aminosäuren Glycin, a- und b-Alanin sowie Asparaginsäure und a-Aminobuttersäure durch Verwendung von Vergleichssubstanzen identifizieren. Auf dem veröffentlichten Chromatogramm (MILLER 1953; Fig. 2; hier: Abb. 4) sind weitere zum damaligen Zeitpunkt noch nicht zugeordnete Substanzen zu erkennen.
Abb. 4: Die Analyse der ersten Syntheseversuche. Miller hatte das entstandene Reaktionsgemisch durch Papierchromatographie mit 2 verschiedenen Laufmitteln (Phenol mit 0,3 % NH3 und Butanol-Essigsäure) getrennt und die Aminosäuren mit Ninhydrin nachgewiesen. (Aus Miller 1953)
In der zweiten oben erwähnten Publikation, einem Auszug aus der eingereichten Dissertation, beschreibt MILLER die drei unterschiedlichen Apparaturen ausführlich und vergleicht die Resultate der Synthesen (MILLER 1955). Er hatte aufwendigere systematische Trennungsschemata, die für andere Problemstellungen entwickelt worden waren, für seine Proben adaptiert. Unter Einsatz von verschiedenen Ionentauscher- und Silicagelsäulen wurden die einzelnen Komponentengruppen getrennt und meist quantitativ analysiert. Die Gasphase wird ebenso wie auch die flüchtigen Säuren und Basen analytisch untersucht. MILLER diskutiert in dieser Arbeit auch mögliche Reaktionsmechanismen. Weitere Untersuchungen zeigen, daß unter dem Einfluß der elektrischen Entladung zunächst vor allem Cyanwasserstoff (HCN), Amine, Aldehyde und Alkohole gebildet werden und die nachgewiesenen Amino- und Hydroxysäuren erst in einem zweiten Schritt in der wässrigen Phase entstehen (MILLER 1957a).
In dieser Arbeit kommt der Autor auch erstmals auf die Purin- und Pyrimidin-Verbindungen, Bausteine der Nukleinsäuren, zu sprechen und stellt fest, daß diese unter der Nachweisgrenze der von ihm eingesetzten Methoden liegen. Die ersten Resultate der gezielten Suche nach diesen stickstoffhaltigen Substanzen unter präbiotischen Bedingungen veröffentlichte ORO (1960). Er konnte aus konzentrierten Ammoniumcyanid-Lösungen (1-10 M NH4CN) Adenin synthetisieren (Ausbeute: 0,5 %).
MILLER fokussierte sein Interesse zunächst auf Synthesemöglichkeiten für Aminosäuren als Bausteinen von Eiweißverbindungen. In den ersten Publikationen wurde die Liste der bei den Simulationsexperimenten synthetisierten und analytisch identifizierten Substanzen mit jeder weiteren Veröffentlichung länger.
Weitere Forschungsarbeiten von MILLER zur präbiotischen Chemie
MILLER hat sich bis in seine späten Arbeiten mit der Synthese von Aminosäuren unter verschiedenen Szenarien präbiotischer Bedingungen auseinandergesetzt und experimentelle Untersuchungen angestellt. Dabei hat er auch viele Randbedingungen eingehender untersucht, wie z.B. die Anwendung unterschiedlicher Energiequellen und deren Auswirkung auf die Ausbeute und Zusammensetzung der Produkte und die Konsequenzen unterschiedlich zusammengesetzter Gasmischungen als „Uratmosphäre“. Dabei stimmen seine Ergebnisse mit denjenigen anderer Chemiker darin überein, daß die Ausbeute an Aminosäuren und anderen komplexen organischen Verbindungen in Gegenwart von Sauerstoff oder oxidierten C- oder N-Verbindungen deutlich geringer ausfallen (MILLER 1974; MILLER & SCHLESINGER 1984).
MILLER hat auch Beiträge zur Synthese von Bestandteilen der Nukleinsäuren, von Purin- und Pyrimidinverbindungen unter präbiotischen Bedingungen geleistet (ROBERTSON& MILLER1995; LEVY et al. 1999). Von weitreichender Bedeutung sind auch seine Untersuchungen zur chemischen Stabilität der verschiedenen Substanzklassen. So hat die von ihm und anderen dokumentierte z.T. eng begrenzte Lebensdauer von Nukleinsäurekomponenten dazu geführt, daß das Modell der RNA-Welt dahingehend modifiziert werden mußte, daß nach einfacher zu synthetisierenden, chemisch stabileren und insgesamt weniger komplexen Vorläuferstrukturen, nach einer Prä-RNA-Welt, gesucht werden muß (JOYCE et al. 1987; KOLB et al. 1994; LEVY & MILLER 1998).
Ursprung des Lebens und Weltraumforschung
Als am 28. September 1969 in Australien ein kohlenstoffhaltiger Meteorit nahe der Stadt Murchinson zur Erde fällt, werden Teile davon am selben Tag (weiteres Material im März und April 1970) gesammelt. Die von verschiedenen Arbeitsgruppen veröffentlichten Analysen werden von MILLER aufgenommen und im Zusammenhang mit den eigenen Resultaten diskutiert (WOLMAN et al. 1972; RING et al. 1972). An dieser Stelle sei angemerkt, daß Weltraumforschung und die Erforschung möglicher Ursprünge des Lebens von den ersten Anfängen bis in die Gegenwart eng verknüpft sind. Das spiegelt sich u.a. in folgendem Zeitschriftentitel wieder: das heute von der International Society for the Study of the Origin of Life (ISSOL) herausgegebene Journal Origins of Life and Evolution of the Biosphere erschien 1969 erstmals unter dem Titel Space Life Science – An International Journal of Space Biology and Medicine. Der fünfte Jahrgang (1974) erscheint unter einem veränderten Titel: Origins of Life – An International Journal devoted to the Scientific Study of the Origin of Life. MILLERs Name steht darin erstmals im Editorial Board. Den aktuellen Namen trägt die Zeitschrift seit der fünfzehnten Ausgabe (1985).
Die amerikanische Weltraumbehörde NASA unterstützt auch aktuell die Suche nach extraterrestrischen Lebensformen und deren möglichen Vorstufen mit großem finanziellem und institutionellem Aufwand (BINDER 1999; s. auch dort zitierte Literatur).
Von MILLER und seinen Mitarbeitern liegen auch weitere Arbeiten zur Synthese von kleinen biologisch bedeutsamen Substanzen vor, wie phosphorhaltige Verbindungen (KEEFE & MILLER 1994; 1996) oder Coenzymen (MILLER & SCHLESINGER 1993 a,b; KEEFE et al. 1995; CLEAVES & MILLER 2001).
Neben theoretischen Beiträgen (WEBER & MILLER 1981; LAZCANO & MILLER 1999) hat MILLER stets von anderen Autoren vorgeschlagene alternative Szenarien zur Lebensentstehung kritisch reflektiert und kommentiert (DE DUVE & MILLER 1991; BADA et al. 1995; MILLER & LAZCANO 1995; MILLER 1997).

Abb. 5: Graphische Darstellung der Analysenergebnisse eines typischen Simulationsexperiments von Miller (nach Cairns-Smith 1982). Die Größe der Rechtecke entspricht der nachgewiesenen Menge der jeweiligen Komponente. Die monofunktionellen Karbonsäuren (obere Reihe) verhindern eine Polymerisierung zu Peptiden. Nur die proteinogenen Aminosäuren (dritte Reihe) sind für den Aufbau von Proteinen einsetzbar. Die Darstellung verdeutlicht auch die geringe Effektivität der Synthese durch das Verhältnis des eingesetzten Kohlenstoffs in Form von Methan (CH4) (Gesamtfläche) zu den Aminosäuren. a Ameisensäute, e Essigsäure, p Propionsäure, Gly Glycin, Ala Alanin, Glu Glutamin, Asp Asparagin
Auswirkungen von MILLERs Experimenten und deren Rezeption
Die dokumentierten Experimente sind sehr sorgfältig durchgeführt (schon aufgrund der zu erwartenden und auch erfolgten kritischen Rückfragen), und auch in den Diskussionen argumentiert MILLER sehr nüchtern, bezeichnet klar, wo er spekuliert, und bemüht sich darum, den chemischen Hintergrund seiner Experimente aufzuklären.
Die ersten kritischen Stimmen zu seiner Veröffentlichung wurden schnell leiser, da die Experimente sich als leicht durchführbar erwiesen und sie so leicht zu überprüfen und zu bestätigen waren. Es war unter dem Gesichtspunkt der Erforschung der Lebensentstehung erstaunlich einfach, aus einem reduzierenden Gasgemisch unter Energieeinwirkung organische Substanzen zu erhalten, darunter auch einige der in Proteinen vorkommenden Aminosäuren. MILLERs erste Arbeiten markieren den Beginn einer bis heute anhaltenden intensiven Forschungsaktivität und Publikationstätigkeit auf dem Gebiet der Lebensentstehung. Für BADA & LAZCANO (2000) wurde mit der Publikation von Stanley MILLER (1953) das Gebiet der präbiotischen organischen Chemie eröffnet und MILLER verdient vor allem auch deshalb volle Anerkennung, weil er damit neue Wege zur empirischen Erforschung der Entstehung des Lebens eröffnet hat.
Die Gefahr der zu weit gehenden Interpretation der Resultate wurde sehr früh gesehen. ABELSON beginnt die Diskussion einer von MILLERs frühen Veröffentlichungen (MILLER 1957b, die Diskussion ist dem Beitrag direkt angefügt) folgendermaßen: „Die Beiträge von Stanley MILLER mit seinen Untersuchungen der Synthese von Aminosäuren aus Methan, Ammoniak und Wasser sind wichtig und bedeutend gewesen. Jedoch kann man bei anderen die Neigung zum Überinterpretieren seiner Resultate erkennen.“ Auch MILLER selbst ist von den überraschenden Befunden zunächst überaus motiviert und optimistisch, wobei der Optimismus später zunehmender Ernüchterung gewichen ist. J. HORGAN (1997) schreibt: „Fast genau vierzig Jahre nach seinem Experiment sagte mir MILLER, daß sich die Lösung des Rätsels vom Ursprung des Lebens als schwieriger erwiesen habe, als er oder irgend ein anderer es sich vorgestellt habe. Er erinnerte sich an eine Vorhersage, die er kurz nach seinem Experiment gemacht hatte, wonach die Wissenschaftler binnen 25 Jahren mit Sicherheit wüßten, wie das Leben entstanden sei“ (Hervorhebung im Original). Die Lösung des Rätsels ist jedoch heute noch genau so wenig erkennbar wie 1953.
Die grundsätzliche Unzugänglichkeit besonderer Ereignisse in der Vergangenheit durch naturwissenschaftliche Methoden wurde von verschiedenen Autoren zutreffend immer wieder betont. So schreibt VON KIEDROWSKI (2003): „Bei der Frage ‘Wie entstand Leben?’ steht die Chemie zwar vor einer ihr nicht zugänglichen historischen Dimension, trägt aber dazu bei, die Plausibilität möglicher Szenarien der Lebensentstehung auszuloten.“ Unternimmt man den ernsthaften Versuch einer solchen Auslotung, dann führt dies zu einem Resultat, das in auffälligem Widerspruch steht zu Darstellungen in populärwissenschaftlicher Literatur, Lehrbüchern und auch Bildungseinrichtungen, wie z.B. Museen. Der Eindruck, daß durch chemische Untersuchungen Beiträge zur Erkenntnis möglicher Prozesse der Lebensentstehung geleistet werden könnten, erweist sich bereits aufgrund der Tatsache als trügerisch, daß keine exakte Definition dafür vorliegt, was Leben eigentlich ist. Welchen Grad an Komplexität muß ein chemisches System aufweisen, daß es als lebendig bezeichnet werden kann? Kann man damit entscheidende Aspekte des Lebens erhellen? Die Reduzierung des Phänomens Leben auf (Bio-)Chemie bzw. Molekularbiologie ist mit gewichtigen Argumenten kritisiert worden (PRIMAS 1990). Damit bleibt die Frage offen, ob sich dieser Forschungsansatz als erfolgreich erweisen wird. Nüchtern und zugegebenermaßen unspektakulär formuliert müßte das Programm der präbiotischen Chemie eigentlich lauten: Ist es möglich unter ganz allgemeinen, einfachen Bedingungen Substanzen herzustellen, die wir aus heutigen Lebewesen kennen?
Kritische Einwände
Schon die Wahl der Ausgangsbedingungen für die Experimente von MILLER ist durch chemische Erfahrung bestimmt. Der Einsatz von Kohlenstoff in maximal reduzierter Form, als Methan (CH4), ist hinsichtlich der erhofften Synthese organischer Verbindungen sinnvoll, stellt aber bereits eine deutliche, auf chemische Erfahrung gegründete Einschränkung dar. Aufgrund von geochemischen Erkenntnissen werden heute auch neutrale bis schwach oxidierende Bedingungen auf einer frühen Erde diskutiert und die stark reduzierenden Bedingungen als weniger wahrscheinlich betrachtet. Damit wäre die Syntheseleistung in MILLERs Ansatz drastisch verringert.

Abb. 6: Vereinfachte Darstellung von Polykondensationsprozessen (A und B). In C ist die Situation auf den Miller-Experimenten basierend gezeigt. Monofunktionelle Komponenten (Kugeln mit nur einer Verknüpfungsmöglichkeit) verhindern den Aufbau langer Ketten durch Kettenabbruch. (Nach Vollmert 1983 und 1985)
Unter den im MILLER-Experiment erzeugten organischen Substanzen stellen die am Proteinaufbau beteiligten Aminosäuren nur einen kleinen Anteil dar. Die in größeren Mengen anfallenden monofunktionellen Karbonsäuren verhindern den erforderlichen Folgeprozeß der Verknüpfung der Aminosäuren zu Peptiden (vgl. Abb. 5 und 6). Dieses Argument wurde von dem Makromolekularchemiker B. VOLLMERT (1983, 1985) vorgebracht und durch Experimente belegt.
Die Polykondensation der in Lebewesen vorkommenden (proteinogenen) Aminosäuren würde einen effektiven Selektionsprozeß zur Auswahl der geeigneten Komponenten erfordern. Dann würden die Kondensationsschritte in Konkurrenz stehen zu den hydrolytischen Spaltungsreaktionen durch das im Überschuß vorhandene Wasser. Selbst wenn reine Aminosäuremischungen vorliegen würden und die Hydrolysereaktionen überwunden werden könnten, würden in einer chemischen Reaktion nicht wie in Proteinen ausschließlich lineare Peptide entstehen, sondern quervernetzte Makromoleküle, die biologisch nicht nutzbar sind.
Des Weiteren müssen, um alle 20 proteinogenen Aminosäuren zu synthetisieren, verschiedene Reaktionsbedingungen eingestellt werden, d.h. sie entstehen nicht bei einem einzigen Ansatz. MILLER findet bei seinen Analysen immer auch viele Aminosäuren, die in Proteinen nicht vorkommen.
Damit Polypeptide biologisch aktiv sein können, müssen sie Homochiralität aufweisen. Chiralität (Händigkeit) bezeichnet das Phänomen, daß manche Stoffe, wie z.B. Aminosäuren oder Kohlenhydrate in zwei Strukturvarianten erhalten werden, die sich zueinander wie Bild und Spiegelbild verhalten. Bei einer chemischen Synthese erhält man typischerweise eine 1:1-Mischung (Racemat) der beiden Varianten. In einem MILLER-Experiment fallen die Aminosäuren als Racemat an. Biologisch aktive Peptide enthalten jedoch ausschließlich eine Variante, nämlich L-Aminosäuren. Ein Protein, in das D-Aminosäuren eingebaut werden, zeigt keine enzymatische Aktivität, da die dazu erforderliche dreidimensionale Struktur nicht gegeben ist. Ein unter präbiotischen Bedingungen plausibler Weg von einem Aminosäure-Racemat zu homochiralen Peptiden ist bisher nicht vorgestellt worden.
Die oben formulierte (fett hervorgehobene) Problemstellung der präbiotischen Chemie muß nach einer nüchternen Analyse der bis heute vorliegenden Forschungsergebnisse mit „ja, aber“ beantwortet werden, wobei das „aber“ nicht stark genug betont werden kann. Ja, es ist möglich, manche biologisch bedeutsamen Stoffe unter vergleichsweise einfachen Bedingungen zu erzeugen. Aber die chemische Empirie zeigt auch, daß alle bisher vorgestellten Konzepte in Sackgassen führen. Die Synthesen von MILLER verhindern den Aufbau von Peptiden; es liegt bis heute nicht ein Experiment vor, in dem erfolgreich versucht worden wäre, MILLERs Rohprodukte für den Aufbau von Peptiden einzusetzen.
In der präbiotischen Chemie werden typischerweise isolierte Detailfragen bearbeitet. Eine Verknüpfung der dabei erzielten Resultate ist aufgrund der jeweils unterschiedlich gewählten Randbedingungen nicht möglich. Für die größeren Zusammenhänge bleiben die Einzelergebnisse damit unfruchtbar.
Nach dem derzeitigen Stand
der präbiotischen Chemie ist nicht erkennbar, wie dieser Forschungszweig in absehbarer Zukunft Erkenntnisse zur
Lebensentstehung beitragen kann.
Der derzeitige Stand der präbiotischen Chemie läßt sich folgendermaßen zusammenfassen: Es ist nicht erkennbar, wie dieser Forschungszweig in absehbarer Zukunft Erkenntnisse zur Lebensentstehung beitragen kann. Voraussetzung dafür wäre u. a. die Klärung grundlegender Fragen, die den Bereich der Naturwissenschaften überschreiten. Die Frage der Verfügbarkeit biologisch bedeutsamer Substanzen ist derzeit mit „ja, aber“ beantwortet. Einige Stoffe ja, aber die jeweiligen Synthesebedingungen sind nicht miteinander vereinbar. Sobald man versucht, die einzelnen Schritte in einen größeren Zusammenhang zu stellen, verlieren die Modelle ihre Plausibilität, man befindet sich in einer Sackgasse. VON KIEDROWSKI drückt diesen Sachverhaltfolgendermaßenaus:„Wenngleichdiese und spätere Ergebnisse der präbiotischen Chemie dazu beigetragen haben, daß die Entstehung des Lebens als chemischer Evolutionsprozeß vorstellbar wurde, ist man von einem kohärenten Bild des Lebensursprungs immer noch weit entfernt. Vielleicht bedarf es hier eines neuen Ansatzes, der über den hinter mehr oder minder bedeutsamen Einzelexperimenten stehenden reduktionistischen Ansatz hinausgeht.“
Zwei aufsehenerregende Beiträge zum Verständnis des Lebens - ein Vergleich
Die beiden in der Einleitung erwähnten Publikationen (MILLER 1953 und WATSON & CRICK 1953a) weisen Gemeinsamkeiten auf, die weit über die des Erscheinungsjahres hinausgehen. Ihr Umfang ist mit jeweils weniger als zwei Druckseiten auffällig gering. Beide Arbeiten haben das Phänomen Leben im Blickfeld und wollen Beiträge zu einem tieferen Verständnis desselben leisten. In beiden Fällen war die Zeit reif für diese Entdeckung. James WATSON hat mehrfach die Ansicht geäußert, daß – falls Francis CRICK und er mit ihrem Modellbau nicht erfolgreich gewesen wären – die Struktur der DNA-Doppelhelix innerhalb des nächsten Jahres aufgeklärt worden wäre.
In beiden Arbeiten konnte auf bereits vorhandene empirische Befunde zurückgegriffen werden.2 In beiden Fragestellungen engagierten sich bereits etablierte Wissenschaftler. Für die DNA hatte z.B. Linus PAULING bereits einen Vorschlag veröffentlicht, der sich allerdings als falsch erwies (PAULING & COREY 1953), und Melvin CALVIN hatte bereits Untersuchungen zur präbiotischen Synthese organischer Substanzen veröffentlicht (GARRISON et al. 1951). Sowohl bei der DNA-Strukturaufklärung als auch bei der Chemie zur Lebensentstehung kann man die Autoren der Schlüsselpublikation als damals unbekannte Außenseiter bezeichnen. Beide Publikationen sorgten bei ihrem Erscheinen für Aufsehen und können heute als Bestandteil des Allgemeinwissens betrachtet werden.
Neben den genannten Gemeinsamkeiten fallen einige gravierende Unterschiede auf. Da ist zunächst die Tatsache, daß WATSON und CRICK für ihren Beitrag zum Verständnis der DNA-Struktur mit dem Nobelpreis (für Physiologie und Medizin, 1962; zusammen mit M. WILKINS) ausgezeichnet wurden, während MILLER keine in ihrer Bedeutung vergleichbare Ehrung zuteil wurde.3
WATSON und CRICK veröffentlichten bereits im selben Jahr eine zweite ausführlichere Arbeit in Nature (WATSON & CRICK 1953b), während MILLERs Folgepublikation erst 1955 (MILLER 1955) erschien. Diese Tatsache kann als deutlicher Hinweis dafür gewertet werden, daß das Doppelhelix-Modell für die DNA-Struktur ein Forschungsgebiet eröffnete, das ungleich intensiver und mit stärkerer Konkurrenz besetzt war als das der Erforschung der Lebensentstehung.
Auch die Wirkungsgeschichte zeigt deutliche Unterschiede. Die Arbeiten von WATSON und CRICK initiierten viele weitere Forschungsprojekte, die sich über die Aufklärung des genetischen Codes bis zur Entwicklung der Gentechnik nachzeichnen lassen. Viele herausragende Wissenschaftler sind in ihre Spuren getreten und einige davon sind für ihre Beiträge ebenfalls mit dem Nobelpreis ausgezeichnet worden. Auf den Pfad, den MILLER eröffnet hat, sind ebenfalls zahlreiche bekannte Kollegen aus verschiedenen naturwissenschaftlichen Disziplinen eingeschwenkt. Als Beispiel sei der Chemiker Leslie ORGEL genannt, der in Cambridge neben WATSON, CRICK, GAMOW u.a. Mitglied des „RNA-Krawatten Clubs“ war und seinen Forschungsschwerpunkt im Bereich präbiotischer Nukleinsäure-Replikation etablierte.
Betrachtet man allerdings den weiteren Fortgang der Forschungen, so fällt auf, daß im Gegensatz zur langen Liste von Erfolgsmeldungen aus der Molekularbiologie die Entwicklung bei den Untersuchungen zur Chemie der Lebensentstehung eher deprimierend war. Zwar sind in einer langen Liste von Beiträgen viele Detailprobleme behandelt und Lösungsideen dokumentiert worden, aber die Randbedingungen, welche für die verschiedenen Detailprobleme postuliert werden, sind nicht miteinander vereinbar und erfordern ein entsprechend komplexes und vielgestaltiges Szenario, dessen Erklärungskraft sich dadurch verringert. Empirische Erkenntnisse falsifizieren die vorgeschlagenen Lösungsansätze, wie oben am Beispiel der Aminosäuresynthese von MILLER und der nachfolgend erforderlichen Polykondensation gezeigt wurde; diese wird durch die Synthese monofunktioneller Karbonsäuren wirksam unterbunden. Die Hoffnungen jedenfalls, die durch MILLERs Publikation geweckt worden sind, haben sich bis heute nicht erfüllt.
Ein Thema - zwei Antwortversuche
Worin könnten die Ursachen für die unterschiedliche Wirkungsgeschichte zu suchen sein? Dazu abschließend einige Bemerkungen.
WATSON hat in jüngsten Interviews deutlich gemacht, daß auch er bei der Erforschung der Nukleinsäure sehr viel mehr als nur einen besonderen chemischen Stoff vor Augen hatte und Motivation wie auch Zielsetzungen durchaus metaphysisch begründet waren. Zwei Beispiele sollen das belegen: „Wir erklärten das Leben in der Sprache der Chemie. Genau das wollten wir. Denn wenn das Leben Chemie ist, dann können wir es verstehen. Wenn es mehr als Chemie wäre, würden wir es nicht verstehen. Wenn Gott das Leben geschaffen hätte, würden wir es nie verstehen“ (DIE ZEIT, 28. 5. 2003).
„...Und eine Erklärung für das Leben mußte in seinen molekularen Grundlagen liegen. Ich habe nie geglaubt, daß die Grundlage des Lebens spiritueller Natur ist; ich hatte da Glück, bei einem Vater groß zu werden, der keine religiösen Überzeugungen besaß. Solche Fesseln banden mich nie. Meine Mutter war getaufte Katholikin, aber das war’s dann auch“ (Spektrum der Wissenschaft, 4/2003).
Auf diesem Hintergrund hat sich WATSON in all seinen Forschungen immer im Bereich von Fragestellungen aufgehalten, die nach seiner Ansicht mit wissenschaftlich-technischen Mitteln zu beantworten waren. So hat sich nicht zuletzt auch bei seiner Initiierung des Projekts zur Entschlüsselung des menschlichen Genoms gezeigt, daß mit diesem Ansatz Strukturen und Prozesse, die in Lebewesen heute vorkommen, erfolgreich zu erforschen sind.
Die Untersuchung der Entstehung des Lebens ist dagegen bereits in der Formulierung zwiespältig. Einerseits wird eine, vielleicht die Grundfrage unseres menschlichen Daseins und Selbstbewußtseins zum Ausdruck gebracht und zum Forschungsproblem erhoben, andererseits ist sehr schnell klar, daß dieses Projekt keine Aussicht hat, mit naturwissenschaftlichen Methoden beantwortet zu werden. Begriffe wie präbiotische Chemie sind einerseits faszinierend und auch in wissenschaftlichen Publikationen sehr attraktiv, allerdings tragen sie bereits die Wurzel der Enttäuschung in sich. Die bisherigen Resultate aus der Forschung zur präbiotischen Chemie haben dazu beigetragen, den Begriff des Lebens zu verwischen. So erwecken Autoren in ihren Veröffentlichungen zu chemischen Detailproblemen den falschen Eindruck, damit wesentliche Beiträge zum Gesamtverständnis der Lebensentstehung zu leisten. Andere Wissenschaftler stellen die Besonderheit des Phänomens Leben in Frage (s. WATSON in: DIE ZEIT, 28. 5. 2003) und versuchen es als Systemeigenschaft zu etablieren.
Es ist wünschenswert, wenn die Grenzen des naturwissenschaftlich Erforschbaren bei der Formulierung von Forschungsprojekten und bei der Vergabe von erforderlichen Mitteln immer wieder neu bewußt gemacht und berücksichtigt werden. Es gibt zweifellos spannende und wichtige Fragen, die sich aber der Beantwortung mit naturwissenschaftlichen Methoden entziehen. Die Nichtbeachtung dieser Erfahrung wird mit Enttäuschungen und Fehlinvestitionen bezahlt werden müssen.
1 Diese wurden anschließend als ein Kapitel in seinem Buch The Planets: Their Origin and Development (UREY 1952b) und als separate Veröffentlichung unter dem Titel On the early chemical history of the earth and the origin of life publiziert (UREY 1952a).
2 Z. B. waren die äquimolaren Verhältnisse der Purin- und Pyrimidinbasen (A:T und G:C jeweils etwa 1:1) bekannt und es gab Röntgenbeugungsdaten von verschiedenen Nukleinsäurekristallen.
3 Stanley MILLER ist allerdings auch mehrfach geehrt worden, z.B. erhielt er 1983 die von der ISSOL verliehene Oparin-Medaille.
The stability of amino acids at submarine hydrothermal vent temperatures. Origins of Life 25, 111-118.
Stanley MILLER´s 70 th birthday. Origins of Life and Evolution of Biosphere 30, 107-112.
Prebiotic soup-revisiting the MILLER experiment. Science 300, 745-746.
The Origin of Life. Weidenfeld und Nicolson, London.
Stud. Int. J. 6, 98-99.
Genetic take-over and the mineral origin of life. Cambridge.
The nicotinamide biosynthetic pathway is a byproduct of the RNA-world. J. Mol. Biol. 52, 73-77.
Two-dimensional life? Proc. Natl. Acad. Sci USA 88, 10014-10017.
„Es roch einfach richtig“ Interview mit J. D. WATSON. Nr. 23 (28. Mai 2003), S. 32.
Reduction of carbon dioxide in aqueous solutions by ionizing radiation. Science 114, 416-418.
Bemerkungen zur Photochemie der Erdatmosphäre. (Über die Entstehung des freien Sauerstoffes und die photochemische Bildung organischer Stoffe.) Naturwissenschaften 26, 77.
An den Grenzen der Wissenschaft. S. 225
The case for an ancestral genetic system involving simple analogues of the nucleotides. Proc. Natl. Acad. Sci USA 84, 4398-4402.
Are polyphosphates or phosphate esters prebiotic reagents? J. Mol. Biol. 41, 693702.
A possible prebiotic synthesis of pantetheine, a precursor to coenzyme A. Nature 373, 683-685.
Potentially prebiotic synthesis of condensed phosphates. Origins of Life 26, 15-25.
50 Jahre DNA-Doppelhelix und MILLER-Experiment. Nachr. Chem. 51, 666-674.
Alternatives in the RNA World: The prebiotic synthesis of Urazole and its ribosides. J. Mol. Biol. 38, 549-557.
On the origin of metabolic pathways. J. Mol. Evol. 49, 424-431.
The stability of the RNA bases: implications for the origin of life. Proc. Natl. Acad. Sci. USA 95, 7933-7938.
Production of Guanine from NH4CN polymerizations. J. Mol. Evol. 49, 165-168.
Über das Verhalten des Formamids unter der Wirkung der stillen Entladung. Ein Beitrag zur Frage der Stickstoff-Assimilation. Ber. 46, 684-697.
A production of amino acids under possible primitive earth conditions. Science 117, 528-529.
Production of some organic compounds under possible primitive earth conditions. J. Am. Chem. Soc. 77, 2351-2361.
The mechanism of synthesis of amino acids by electric discharges. Biochim. et Biophys. Acta 23, 480-489.
The formation of organic compounds on the primitive earth. Ann. NY Acad. Sci. 69, 260-275.
The atmosphere of the primitive earth and the prebiotic synthesis of amino acids. Origins of Life 5, 139-151.
The Origin of Life on the Earth. Prentice-Hall, Inc. Englewood Cliffs, New Jersey.
Harold C. Urey 1893-1981. J. Mol. Evol. 17, 263-264.
Carbon and energy yields in prebiotic synthesis using atmospheres containing CH4, CO and CO2. Origins of Life 14, 83-90.
Prebiotic synthesis of vitamin coenzymes: I. Cysteamine and 2-Mecaptoethanesulfonic acid (coenzyme M). J. Mol. Biol. 36, 302-307.
Prebiotic synthesis of vitamin coenzymes: II. Pantoic acid, Pantothenic acid, and the composition of coenzyme A. J. Mol. Biol. 36, 308-314.
The origin of life – did it occur at high temperatures? J. Mol. Evol. 41, 689-692.
Peptide nucleic acids and prebiotic chemistry. Nature Struct. Biol. 4, 167-169.
Oparins „Origin of Life“: sixty years later. J. Mol. Evol. 44, 351-353.
Synthesis of adenine from ammonium cyanide. Biochem. Biophys. Res. Commun. 2, 407-412.
A proposed structure for the nucleic acids. Proc. Natl. Acad. Sci. USA 39, 84-97.
Biologie ist mehr als Molekularbiologie. In: FISCHER EP, MAINZER K (Hrsg., 1990) Die Frage nach dem Leben. R. Piper GmbH & Co. KG, München, S. 63-92.
Prebiotic synthesis of hydrophobic and proteinamino acids. Proc. Nat. Acad. Sci USA 69, 765-768.
Prebiotic synthesis of 5substituted uracils: A bridge between the RNA world and the DNA-Protein world. Science 268, 702-705.
50 Jahre Doppelhelix: Interview mit James D. WATSON. 4/2003, 74-77.
Nonprotein amino acids from spark discharges and their comparison with the Murchinson Meteorite amino acids. Proc. Nat. Acad. Sci USA 69, 809-811.
On the early chemical history of the earth and the origin of life. Proc. Nat. Acad. Sci. 38, 351-363.
The Planets. (4. Kapitel) Yale University Press, New Haven.
Polykondensation in Natur und Technik. Karlsruhe.
Das Molekül und das Leben. Reinbek bei Hamburg.
Molecular structure of nucleic acids. Nature 171, 737-738.
Genetical implications of the structure of deoxyribose nucleic acid. Nature 171, 964-967.
Reasons for the occurrence of the twenty coded amino acids. J. Mol. Evol. 17, 273-284.
Letzte Änderung: 28.01.2009 •